АТМОСФЕРА ЗЕМЛИ

Рис. 1 Строение атмосферы
Атмосферой называется газовая оболочка, окружающая земной шар. Газ, составляющий эту оболочку, называется воздухом
Высота газовой оболочки Земли велика и составляет более 2000 км. Точно определить границу атмосферы трудно, так как переход от земной атмосферы к межпланетному пространству совершается плавно и на больших высотах плотность воздуха очень мала. Можно только отметить, что в пределах околоземного пространства до высоты 20 км находится около 95% всей массы атмосферного воздуха
Атмосфера разделяется на тропосферу, стратосферу и ионосферу (Рис. 1). Такое разделение основано на физических свойствах этих слоев и характере их изменения с подъемом на высоту. Давление и плотность воздуха с увеличением высоты во всех трех слоях атмосферы уменьшается.
Рис. 2 Изменение температуры воздуха по высотам для стандартных условий средней широты
Тропосферой называется нижний слой атмосферы. Толщина ее над полюсами 7 — 8 км, над экватором 16 — 18 км, высота верхней границы изменяется в зависимости от характера поверхности Земли, атмосферных процессов, теплового состояния воздуха, а также от суточных и годовых изменений. Температура воздуха в тропосфере с подъемом на высоту падает (6,5° на каждые 1000 м), так как нагрев воздуха обусловливается основном отраженными от земной поверхности солнечными лучами. Изменение температуры воздуха с высотой приводит к перемещению воздушных масс, холодные верхние слои опускаются, а теплые поднимаются. Вследствие этого образуются облака, выпадают осадки, дуют ветры. Из-за перемещения воздушных масс состав воздуха тропосферы практически постоянен. В нем содержится 78% азота, 21% кислорода и около 1% других газов (аргон, углекислый газ, водород, неон, гелий). Кроме указанных газов в тропосфере сосредоточен почти весь водяной пар, находящийся в непрерывном кругообороте (испарение — конденсация и кристаллизация с облакообразованием — осадки). В нижних слоях тропосферы множество различных примесей в виде мельчайших твердых частиц (пыль). Содержание в воздухе тропосферы водяного пара и пыли приводит к ухудшению видимости.
Стратосфера — слой воздуха, лежащий непосредственно над воздушными слоями тропосферы. В ней наблюдается полное отсутствие облаков и наличие сильных ветров, дующих с большой скоростью и в одном направлении. Вертикальные перемещения воздушных масс отсутствуют. В стратосфере с высоты: на экваторе — 17 км, полюсе — 8 км, средней широте — 11 км и до высоты в среднем 25…30 км температура постоянна и составляет -56°С. С высоты 30 км и до 55 км температура воздуха повышается до +75°С вследствие повышенного содержания озона, который обладает способностью поглощать ультрафиолетовое излучение. С высоты 55 км и до 80 км температура воздуха понижается в среднем на 4°С на каждые 1000 м из-за уменьшения процентного содержания озона в воздухе. На высоте 82…83 км температура воздуха составляет -35°С (рис. 2).
Ионосфера — слой воздуха, лежащий непосредственно над воздушным слоем стратосферы. Высоты ионосферы от 85 до 500 км. Из-за наличия в ионосфере огромного количества ионов (заряженных молекул и атомов атмосферных газов, движущихся с большими скоростями) ее воздух сильно нагревается. Воздух ионосферы также характеризуется высокой проводимостью, преломлением, отражением, поглощением и поляризацией радиоволн. В ионосфере из-за вышеуказанных свойств наблюдаются свечения ночного неба, полярные сияния, магнитные бури.
ТЕМПЕРАТУРА ВОЗДУХА
Температура- величина, характеризующая степень теплового состояния тела (газа) или скорость хаотического движения молекул (чем выше температура, тем больше скорость их движения, и наоборот). Температуру воздуха можно измерять по двум шкалам: Цельсия и абсолютной шкале Кельвина. За нуль градусов по шкале Цельсия принято считать температуру таяния льда, а за 100° — температуру кипения воды при атмосферном давлении, равном 760 мм рт. ст.
Если известна температура воздуха у земли, то можно определить температуру воздуха в тропосфере на любой высоте по формуле:
tH=t-6,5×Н
где tн— температура воздуха на определяемой высоте, °С;
t- температура воздуха у земли, °С;
Н — заданная высота, км.
Задача Температура воздуха у земли +10°С. Определить температуру воздуха над данным участком земли на высоте 7 км. Решение Тн= 10-6,5*7= — 35,5° Температура воздуха на высоте 7 км равна -35,5°С.
ЗАВИСИМОСТЬ ПЛОТНОСТИ ВОЗДУХА ОТ ЕГО ТЕМПЕРАТУРЫ И ДАВЛЕНИЯ
При изменении давления и температуры изменяется плотность воздуха. Плотность воздуха (в кгс×с2м4) непосредственно не измеряется, а определяется по формуле:
ρ = 0,0473 B / T
где В — барометрическое давление, мм рт. ст.;
Т-температура воздуха по шкале Кельвина.
Согласно закону Бойля-Мариотта плотность воздуха будет тем больше, чем больше давление, а согласно закону Гей-Люссака плотность воздуха тем больше, чем меньше температура воздуха. Объединив эти два закона для определения зависимости между плотностью, давлением и температурой воздуха, получим уравнение состояния газа (закон Бойля-Мариотта — Гей-Люссака)
Pv = R T
где Р — давление, кгс/м2;
v — удельный объем, м/кг;
R — газовая постоянная, кгс м/кг град или Дж/кгК (для воздуха равная 27,3).
Задача 1 Определить массовую плотность воздуха на уровне моря, если барометрическое давление В =800 мм рт. ст., а температура воздуха t = — 23°C.
Решение.
ρ = 0,0473 B / T , ρ = 0,0473 · 800 / (273-23) = 0,151 кгс×с2/м4
Массовая плотность больше стандартной, так как барометрическое давление больше стандартного, а температура ниже стандартной.
Таким образом, можно сделать заключение, что чем выше давление и ниже температура, тем больше плотность воздуха. Поэтому наибольшая плотность воздуха зимой в морозную погоду, а наименьшая летом в теплую погоду. Также следует заметить, что плотность влажного воздуха меньше, чем сухого (при одних и тех же условиях). Поэтому иногда учитывают и влажность, вводя при этом в расчеты соответствующие изменения.
С высотой плотность воздуха падает, так как давление в большей степени падает, чем понижается температура воздуха. В стратосфере (примерно с высоты 11 км и до 32 км) температура почти постоянна, и поэтому плотность воздуха падает пропорционально уменьшению давления
АЭРОДИНАМИЧЕСКИЕ ТРУБЫ
Аэродинамические трубы зависимости от диапазона чисел Маха М разделяются на дозвуковые (М=0,15-0,7), трансзвуковые (М=0,7-1 3), сверхзвуковые (М=1,3-5) и гиперзвуковые (М=5-25), по принципу действия — на компрессорные (непрерывного действия), в которых поток воздуха создается спец компрессором, и баллонные с повышенным давлением, по компоновке контура — на замкнутые и незамкнутые.
Компрессорные трубы имеют высокий кпд, они удобны в работе, но требуют создания уникальных компрессоров с большими расходами газа и большой мощности. Баллонные аэродинамические трубы по сравнению с компрессорными менее экономичны, поскольку при дросселировании газа часть энергии теряется. Кроме того, продолжительность работы баллонных аэродинамических труб ограничена запасом газа в баллонах и составляет для различных аэродинамических труб от десятков секунд до несколько минут.
Широкое распространение баллонных аэродинамических труб обусловлено тем, что они проще по конструкции а мощности компрессоров, необходимые для наполнения баллонов, относительно малы. В аэродинамических трубах с замкнутым контуром используется значительная часть кинетической энергии, оставшейся в газовом потоке после его прохождения через рабочую область, что повышает КПД трубы. При этом, однако, приходится увеличивать общие размеры установки.
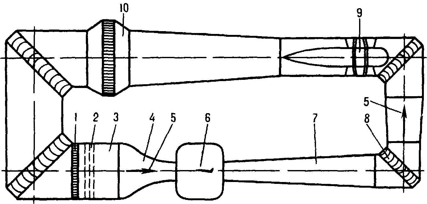
В дозвуковых аэродинамических трубах исследуются аэродинамические характеристики дозвуковых самолетов вертолетов а также характеристики сверхзвуковых самолетов на взлетно-посадочных режимах. Кроме того, они используются для изучения обтекания автомобилей и др. наземных транспортных средств, зданий, монументов, мостов и др. объектов На рис показана схема дозвуковой аэродинамической трубы с замкнутым контуром.
Рис. 9 Схема дозвуковой компрессорной аэродинамической трубы.
1- хонейкомб 2 — сетки 3 — форкамера 4 — конфузор 5 — направление потока 6 — рабочая часть с моделью 7 — диффузор, 8 — колено с поворотными лопатками, 9 — компрессор 10 — воздухоохладитель

Рис. 10 Схема баллонной трансзвуковой эжекторной аэродинамической трубы
1 — хонейкомб 2 — сетки 3 — форкамера 4 — конфузор 5 — перфорированная рабочая часть с моделью 6 — эжектор 7 — диффузор 8 — колено с направляющими лопатками 9 — выброс воздуха 10 — подвод воздуха от баллонов
Рис. 11 Схема сверхзвуковой баллонной аэродинамической трубы
1 — баллон со сжатым воздухом 2 — трубопровод 3 — регулирующий дроссель 4 — выравнивающие сетки 5 — хонейкомб 6 — детурбулизирующие сетки 7 — форкамера 8 — конфузор 9 — сверхзвуковое сопло 10 — рабочая часть с моделью 11 — сверхзвуковой диффузор 12 — дозвуковой диффузор 13 — выброс в атмосферу

Рис. 12 Схема баллонной гиперзвуковой аэродинамической трубы
1 — баллон с высоким давлением 2 — трубопровод 3 — регулирующий дроссель 4 — подогреватель 5 — форкамера с хонейкомбом и сетками 6 — гиперзвуковое осесимметричное сопло 7 — рабочая часть с моделью 8 — гиперзвуковой осесимметричный диффузор 9 — воздухоохладитель 10 — направление потока 11 — подвод воздуха в эжекторы 12 — эжекторы 13 — затворы 14 — вакуумная емкость 15 — дозвуковой диффузор
СКАЧКИ УПЛОТНЕНИЯ
Рассмотрим картину распространения звуковых волн (малых возмущений) при движении источника возмущений (источника звука).
Рис. Распространение волн слабых возмущений из источников возмущений, движущихся с различными скоростями
Если источник возмущений неподвижен, то волны будут распространяться с одинаковой скоростью во все стороны в виде концентрических сфер, в центре которых находится источник возмущения. Каждое возмущение (звуковая волна) представляет собой местное уплотнение молекул воздуха, которое передается от одного слоя молекул к другому, удаляясь от источника возмущения (Рис., а).
При движении точечного источника возмущения со скоростью, меньшей скорости звука, звуковые волны идут как вперед, так и назад (рис. б) В результате сферические волны будут смещены в сторону, обратную движению источника возмущений, однако источник останется внутри сфер.
Если скорость движения точечного источника возмущений сравняется со скоростью звука, то возмущения, вызванные источником, не успевают уйти от источника и в месте нахождения источника возмущений в каждый данный момент происходит наложение возмущений друг на друга. Образовавшаяся в результате этих наложений фронтальная поверхность разделяет пространство на две области: возмущенную (сзади источника) и невозмущенную (перед источником), как показано на (рис. в).
При движении точечного источника возмущений со скоростью, превышающей скорость движения звуковой волны (скорость звука), возмущения, им создаваемые, должны оставаться позади источника (рис. г). Область, в которой распространяются малые возмущения от точечного источника возмущений, называется конусом слабых возмущений. Внутри конуса среда возмущена, вне конуса находится область, где возмущений от данного источника нет. Поверхность конуса служит естественной границей, разделяющей среду на две области — возмущенную и невозмущенную. Эту поверхность называют граничной волной слабых возмущений или границей возмущений. Граничные волны слабых возмущений образуются при движении со скоростью, превышающей скорость звука не только материальной точки, но и тонких тел с острой передней кромкой, а также при обтекании сверхзвуковым потоком поверхностей крыла, фюзеляжа и других частей самолета. Угол j между границей возмущений и направлением движения источника возмущений называется углом малых возмущений.
Параметры течения и движущегося тела.
Силу,
действующую на движущееся тело, можно выразить с помощью некоторого
безразмерного параметра. Этот параметр получается, если силу отнести к
некоторой комбинации существенных характеристик среды и течения, также
имеющей размерность силы. По второму закону Ньютона сила F равна произведению массы на ускорение и имеет размерность ml/t 2, где m – масса, выраженная в кг, l – длина и t – время (с). Величиной, имеющей размерность силы, является произведение плотности r, квадрата скорости движения тела в среде v2 и площади S. Искомый безразмерный параметр, который называется коэффициентом силы, определяется следующим соотношением:
Множитель
1/2 вводится из соображений удобства, так как такой же множитель
содержится в уравнении Бернулли, приведенном выше. Сила как векторная
величина, характеризуется своими компонентами, имеющими различные
направления. Соответственно этому различают три коэффициента сил:
коэффициент подъемной силы (нормальной к скорости набегающего потока),
коэффициент силы сопротивления (направленной вдоль скорости набегающего
потока) и коэффициент боковой силы (ортогональной двум предыдущим).
Сам
коэффициент силы зависит от других безразмерных параметров. Одним из
них является число Рейнольдса Re, введенное английским инженером
Осборном Рейнольдсом (1842–1912). Этот критерий определяется формулой
Здесь m – коэффициент вязкости, имеющий размерность m/lt.
Длина l, входящая в определение критерия Рейнольдса, является характерным масштабом течения. Для течения около сферы в качестве l
можно взять диаметр сферы, для самолета это хорда крыла, а для трубы –
ее диаметр. Это означает, что можно сравнивать числа Рейнольдса для
течений различных сред (с различными значениями r и m)
около двух сфер или двух геометрически подобных самолетов. Однако не
имеет смысла сравнивать числа Рейнольдса течений около сферы и около
самолета, так как эти тела не являются геометрически подобными и нельзя
определить один масштаб длины, устанавливающий соответствие между этими
двумя видами течений. Сопоставление чисел Рейнольдса для течений около
двух сфер может служить указанием об относительном влиянии вязкости
среды на характер течения.
Вторым определяющим критерием является число Маха M,
M = v/a,
введенное
австрийским физиком Эрнстом Махом (1838–1916). Число Маха может служить
мерой влияния сжимаемости на аэродинамические характеристики тел.
Излагаемые
здесь сведения касаются главным образом влияния чисел Рейнольдса и Маха
на аэродинамические характеристики, т.е. на подъемную силу и
сопротивление крыльев и других элементов самолета. Ниже будет показано,
что каждое из этих чисел определяет некоторые особенности обтекания,
соответствующие высоким или низким значениям размера тела, скорости или
высоты полета.
Обтекание крыла воздушным потоком. Угол атаки. Силы, действующие на летательный аппарат.
При обтекании крыла воздушный поток деформируется таким образом, что на верхней поверхности крыла его скорость возрастает, а на нижней — уменьшается. Благодаря этому появляется подъемная сила, удерживающая наше крыло в воздухе.
Согласно третьему закону Ньютона сила воздействия крыла на воздух равна силе воздействия воздушного потока на крыло. Эта сила получила название полной аэродинамической силы R крыла. Так вот, в полете на дельтаплан действуют, в общем случае, только две силы: аэродинамическая сила R и сила тяжести G. Первая приложена в центре давления, а вторая — в центре массы аппарата. Для удобства представим, что две эти точки совпадают.
Если обтекание крыла имеет симметричный характер, то направление полной аэродинамической силы совпадает с направлением невозмущенного потока (рис. 13).

Рис. 13. Симметричное обтекание тела воздушным потоком.
Но в общем случае воздушный поток обтекает тело несимметрично, под каким-нибудь углом. Величина, действующей на крыло полной аэродинамической силы, зависит от угла, под которым крыло встречает набегающий поток воздуха. Этот угол называется углом атаки и определяется, как угол между хордой крыла (отрезком, соединяющим две наиболее удаленные точки крыла) и вектором скорости набегающего потока.
Угол атаки может быть положительным, отрицательным и нулевым (рис. 14):

Рис. 14. Угол атаки.
Крыло дельтаплана имеет сложную форму, при которой хорды его сечений расположены под разными углами атаки к набегающему потоку воздуха. В этом случае, угол атаки определяется, как угол образованный так называемой средней аэродинамической хордой крыла и вектором скорости воздушного потока.
Для справки: средняя аэродинамическая хорда крыла — это хорда условно прямоугольного крыла, которое создает такой же продольный момент относительно центра тяжести самолёта, что и действительное крыло.
Вернемся к силам, действующим на летательный аппарат. Силы принято раскладывать по осям, а действие моментов рассматривать вокруг этих осей. Правая прямоугольная система координат — это три оси, начало которых находится в центре масс аппарата (мы для удобства совместили его с центром давления). Положительное направление оси X будет направлено по вектору скорости полета, оси Y перпендикулярно к оси X вверх, а ось Z направлена перпендикулярно к плоскости, в которой находятся оси X и Y вдоль правого крыла.
Теперь разложим полную аэродинамическую силу R и силу тяжести G по осям, направленным по траектории планирования и перпендикулярно к ней (рис. 15).
Рис. 15. Силы, действующие на крыло в полёте.
Полная аэродинамическая сила R разложится на подъемную силу Разложим силу R на подъемную силу Y, направленную перпендикулярно к пути, и силу лобового сопротивления X, направленную в противоположную сторону пути движения аппарата. Поэтому если быть математически точным, то ее надо писать со знаком «—». Слагаемые силы G — силы Gx и Gy — равны по величине и противоположны по направлению силам X и У. Надо помнить, что хотя сила Y и называется подъемной силой, но она не уравновешивает весь вес, а только одну его составляющую. Сила X уравновешивает ту составляющую силу веса, которая иногда называется маршевой силой. Маршевая сила направлена по вектору скорости поступательного движения дельтаплана или другого планера. Таким образом, движущей силой является составляющая веса Gx, возникающая вследствие движения по траектории, наклоненной к горизонту. Сила Z появляется только при криволинейном движении в горизонтальной плоскости.
Скачать в формате WordВернуться в раздел «Лекции»
Презентация на тему: » Основы аэродинамики ВС 1.Основные понятия и законы аэродинамики 2.Причины возникновения подъемной силы.» — Транскрипт:
1
Основы аэродинамики ВС 1. Основные понятия и законы аэродинамики 2. Причины возникновения подъемной силы

2
Основы аэродинамики ВС Аэродинамика – это наука о законах движения воздуха (газов) и о механическом взаимодействии между воздушными потоками и телами, которые в нем находятся. Под потоком подразумевается масса воздуха, движущаяся относительно какого-либо тела.+ Основная задача, которая решается аэродинамикой в интересах авиации, заключается в определении сил и моментов, действующих на самолёт при различных условиях полёта.+ Теоретическая аэродинамика использует общие законы физики и термодинамики и опирается на эти науки. Основные законы аэродинамики выведены для идеального газа и установившегося потока. Идеальным газом принято считать такой газ, в котором отсутствуют силы вязкости, а молекулы газа не имеют объема. Установившийся поток – это такой поток, в каждой точке которого параметры газа не изменяются с течением времени.

3
Основы аэродинамики ВС Для установления законов движения газов удобно рассматривать не весь газ, а струйку. Зависимости, полученные для струйки, будут справедливы для всего потока. Полностью определяют состояние воздуха следующие характеристики: давление, температура, плотность и сжимаемость. Остальные характеристики воздуха являются производными основных параметров. Уравнение состояния воздуха p – давление υ – удельный объем R – газовая постоянная (8,31 Дж/(моль*К) ) T – температура Уравнение неразрывности ρ – плотность воздуха S – площадь сечения трубки V – скорость воздуха в сечении ρV – удельный расход воздуха

4
Основы аэродинамики ВС Таким образом, большему сечению соответствует меньшая скорость потока, и наоборот. Уравнение энергии (закон Бернулли) Величина р называется статическим давлением (атмосферным давлением на высоте полета), а величина — скоростным напором, или динамическим давлением. Следовательно, в любом произвольном сечении установившегося потока воздуха сумма статического и динамического давлений есть величина постоянная. Это означает, что большей скорости потока соответствует меньшее статическое давление, поэтому применительно к рис. можно записать:

5
Причины возникновения подъемной силы Хордой крыла называется отрезок прямой, соединяющий переднюю и заднюю точки профиля крыла. Углом атаки крыла α называется угол между хордой крыла и направлением скорости невозмущенного потока.

6
Причины возникновения подъемной силы Перед профилем крыла струйка воздуха расширяется, что приводит, согласно уравнению неразрывности, к уменьшению скорости потока. Это в свою очередь, в соответствии с законом Бернулли, обуславливает увеличение давления в передней части крыла. Обтекая верхнюю и нижнюю поверхности крыла, струйки сужаются, скорости обтекания увеличиваются, а давление уменьшается. При этом местные скорости обтекания V М превышают скорость невозмущенного потока V.

7
Причины возникновения подъемной силы Так как на различные точки поверхности обтекаемого тела действуют разные силы давления, результирующая их будет отлична от нуля. Это различие давлений в разных точках поверхности движущегося крыла является основным фактором, обусловливающим появление аэродинамических сил. Нетрудно заметить, что степень деформации струек в потоке будет зависеть от конфигурации тела и его положения в потоке. Зная спектр обтекания тела, можно для каждой его точки подсчитать величину давления воздуха и таким образом судить о величинах и характере действия аэродинамических сил.

8
Причины возникновения подъемной силы Проекция полной аэродинамической силы R, вдоль потока обозначается X и называется лобовым сопротивлением, а проекция направленная перпендикулярно потоку, обозначается через Y и называется подъемной силой. Точку приложения силы R называют центром давления. Эмпирически установлено, что: c R, c Y, c X – коэффициенты полной аэродинамической силы, подъемной силы и лобового сопротивления соответственно; S – площадь крыла в плане; — скоростной напор.

События в авиации
Работая по крайней мере с 1796 года, когда он построил модель вертолета, до его смерти в 1857 г., Сэр Джордж Кэли считается первым человеком, который определил четыре аэродинамические силы полета -масса, поднимать, тащить, и толкать — и отношения между ними. Кэли также считается первым человеком, который разработал концепцию современного самолета с неподвижным крылом; Хотя записи да Винчи содержат чертежи и описания летательного аппарата тяжелее воздуха с неподвижным крылом, заметки да Винчи были дезорганизованы и разбросаны после его смерти, и его достижения в области аэродинамики не были заново открыты до тех пор, пока технологии не достигли прогресса, значительно превосходящего достижения да Винчи.
К концу 19 века перед реализацией полета тяжелее воздуха были выявлены две проблемы. Первым было создание аэродинамических крыльев с низким сопротивлением и большой подъемной силой. Вторая проблема заключалась в том, как определить мощность, необходимую для продолжительного полета. За это время был заложен фундамент современного времени. динамика жидкостей и аэродинамика, с другими менее научными энтузиастами, испытывающими различные летательные аппараты без особого успеха.
В 1884 г. Джон Дж. Монтгомери Американец, получивший образование в области физики, начал экспериментировать с конструкциями планеров. Используя водный стол с циркулирующей водой и дымовую камеру, он начал применять физику гидродинамики для описания движений потока по изогнутым поверхностям, таким как аэродинамические поверхности. В 1889 г. Чарльз Ренар, французский авиационный инженер, стал первым, кто разумно предсказал мощность, необходимую для непрерывного полета. Ренар и немецкий физик Герман фон Гельмгольц исследовали нагрузку на крылья (отношение веса к площади крыла) птиц и в конечном итоге пришли к выводу, что люди не могут летать самостоятельно, прикрепляя крылья к своим рукам. Отто Лилиенталь после работы сэра Джорджа Кейли был первым человеком, добившимся большого успеха в полетах на планерах. Лилиенталь считал, что тонкие изогнутые аэродинамические поверхности обеспечивают высокую подъемную силу и низкое сопротивление.
Октав Шанют книга 1893 г., Прогресс в летающих машинах, изложил все известные исследования, проведенные к тому моменту во всем мире. Книга Шанюта оказала большую услугу тем, кто интересовался аэродинамикой и летательными аппаратами.
Благодаря информации, содержащейся в книге Chanute, личной помощи самого Chanute и исследованиям, проведенным в их собственной аэродинамической трубе, Братья Райт получил достаточно знаний в области аэродинамики, чтобы 17 декабря 1903 года управлять первым самолетом с двигателем. Полет братьев Райт подтвердил или опровергнул ряд теорий аэродинамики. Теория силы сопротивления Ньютона окончательно оказалась неверной. Этот первый широко разрекламированный полет привел к более организованным усилиям авиаторов и ученых, проложив путь к современной аэродинамике.
Во время первых полетов, Джон Дж. Монтгомери,Фредерик В. Ланчестер,Мартин Кутта, и Николай Жуковский независимо созданные теории, которые связывают обращение потока жидкости для подъема. Кутта и Жуковский разработали двумерную теорию крыла. Продолжая работу Ланчестера, Людвиг Прандтль приписывают развитие математики за теорию тонкого профиля и подъемной линии, а также работу с пограничные слои. Прандтль, профессор Геттингенский университет, проинструктировал многих студентов, которые сыграют важную роль в развитии аэродинамики, например Теодор фон Карман и Макс Мунк.
Второй закон Ньютона
Помните пример про тележку? В этот момент мы приложили к ней силу! Интуитивно понятно, что тележка покатится и вскоре остановится. Это значит, ее скорость изменится.
В реальном мире скорость тела чаще всего изменяется, а не остается постоянной. Другими словами, тело движется с ускорением. Если скорость нарастает или убывает равномерно, то говорят, что движение равноускоренное.
Если рояль падает с крыши дома вниз, то он движется равноускоренно под действием постоянного ускорения свободного падения g. Причем любой дугой предмет, выброшенный из окна на нашей планете, будет двигаться с тем же ускорением свободного падения.
Второй закон Ньютона устанавливает связь между массой, ускорением и силой, действующей на тело. Приведем формулировку второго закона Ньютона:
Если на тело действует сразу несколько сил, то в данную формулу подставляется равнодействующая всех сил, то есть их векторная сумма.
В такой формулировке второй закон Ньютона применим только для движения со скоростью, много меньшей, чем скорость света
Существует более универсальная формулировка данного закона, так называемый дифференциальный вид.
В любой бесконечно малый промежуток времени dt сила, действующая на тело, равна производной импульса тела по времени.
















![Тема 3. аэродинамика и летающие модели [1986 рожков в.с. - авиамодельный кружок: пособие для руководителей кружков]](http://site-edu.ru/wp-content/uploads/f/b/3/fb31aad0d799c4b620eb86dce90ef3e7.jpeg)












